Адаптивный круиз-контроль для Harley Davidson
За последние годы мотопроизводители разработали, запатентовали, представили и внедрили массу различных технологий, повышающих безопасность.
От многоуровневого трекшн- и вилли-контроля и до ABS с отслеживанием угла наклона, системы активной безопасности с каждым годом становятся всё сложнее и изощрённее. Кому-то их работа кажется естественной, а кому-то наоборот мешает, но реалии таковы, что на рынке появляются и с годами улучшаются всё новые и новые технологии. Так, в 2021 году трендом стал адаптивный круиз-контроль - его внедряют KTM, BMW и Ducati.
Адаптивный круиз-контроль для Harley Davidson
Ещё один бренд, разрабатывающий адаптивный круиз-контроль — это Harley Davidson, и новые патенты американской компании раскрывают её в интересном ракурсе. Поданная 21 января 2021 года патентная заявка описывает систему автономного аварийного торможения, позволяющую избежать столкновения. При помощи ряда приборов, отслеживающих поток, а также отслеживания действий райдера, технология способна предупредить райдера о потенциальной угрозе, а при необходимости и вмешаться.
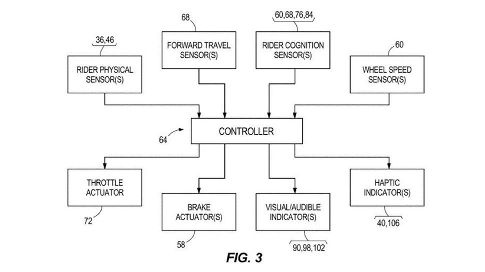
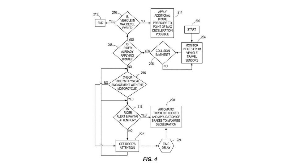
Система, основанная на радаре, не только обнаруживает окружающие транспортные средства, но и отслеживает действия райдера при помощи видеокамер на приборной панели и сенсоров в грипсах и сиденье. Перед тем, как прибегать к аварийному торможению, система определяет, достаточно ли райдер внимателен и готов ли отреагировать сам. Если нет, то система посылает серию визуальных и звуковых оповещений на приборной панели, а также вибросигналов через грипсы. Если райдер своевременно не отреагирует, система активирует автоматическое торможение.
В ситуации, когда райдер уже активировал тормоза, но тормозного усилия недостаточно для успешной остановки, система добавит давления в тормозных контурах для максимально эффективного торможения. Помимо камер на приборной панели технология также будет использовать камеру в шлеме - всё верно, не НА шлеме, а В шлеме, отслеживающую движения глаз райдера для отслеживания его внимания. Разумеется, автономные системы аварийного торможения уже используются в автомобильной индустрии, но на мотоциклах применение подобных систем вызывает ряд вопросов.
Без сомнения, долгие поездки могут вызывать сонливость и потерю внимания, но всё же любопытно, как харлеисты, одна из самых консервативных аудиторий, отреагируют на дополнительную систему безопасности, постоянно наблюдающую за их вниманием.
Лишь время покажет, появится ли автоматический тормоз на американских круизёрах, но в её скором воплощении в том или ином виде на том или ином классе мотоциклов сомневаться не приходится.


