Honda - бесспорно, технологический лидер во многих областях, связанных с мотоциклами, но на сегодняшний день японская компания несколько отстаёт от конкурентов в части внешних сенсоров для бортовых систем ассистирования и безопасности.
Но это, судя по всему, ненадолго: недавние патентные заявки раскрыли, что Honda работает над передней и задней радарными системами, в частности -для Gold Wing и Africa Twin, а ещё одна, совсем свежая заявка описывает более дешёвый и простой электронный ассистент, которым может быть оснащён практически любой мотоцикл.
Стереоскопические камеры вместо радаров
Радары - вещь, проверенная десятилетиями в самых разных областях, да и ближайшая - автомобильная - отрасль уже давно пользуется системами активной безопасности на их основе. В мотоциклетном мире активный круиз-контроль и системы предотвращения столкновений уже тоже нельзя назвать горячей новостью - радарные системы от Bosch доступны на Ducati Multistrada V4 S, BMW R 1250 RT, а также R 1800 B и Transcontinental, не говоря уж о KTM 1290 Adventure S. Но далеко не любой мотоцикл способен вместить радарный датчик, и дело даже не в их громоздкости, а в том, что он должен стоять под определённым углом и без препятствий "видеть" дорогу впереди или позади мотоцикла. Так что все мотоциклы, оснащённые радаром, включая ожидаемый в 2022 году Kawasaki H2 SX, имеют где-то спереди заметный радарный модуль.
Патенты Honda, связанные с радарными системами, немало внимания уделяют и эстетическому аспекту, пытаясь скрыть датчики под облицовкой. Впрочем, радары - не единственный способ обнаружить приближение объекта: в мире четырёх колёс некоторые компании, включая Subaru, предпочитают для измерения дистанции до объектов использовать стереоскопические камеры вместо радаров. Новый патент Honda предлагает аналогичную систему для мотоциклов.
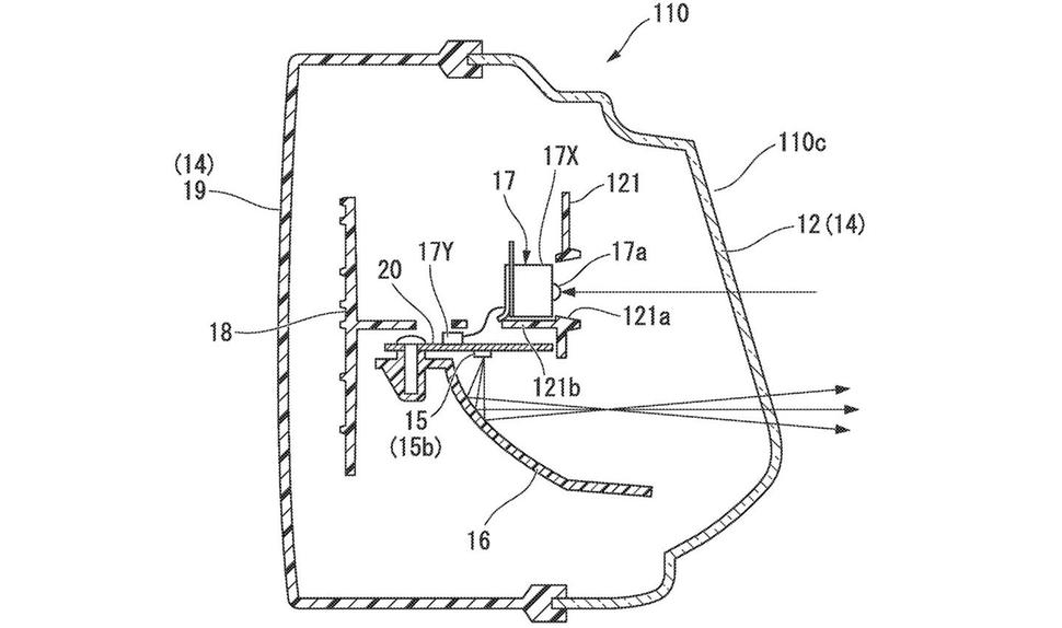
Судя по эскизу, приложенному к патентной заявке, датчики (сенсоры) изображений - CCD-шные, MOS-овые или самые современные CMOS-овые - устанавливаются изнутри фар мотоцикла, прямо рядом с диодными лампами. На приведённом эскизе датчики обозначены номерами 17 и 26, а светодиоды - 15 и 23. Электронный модуль, управляющий матрицей (сенсором), также размещается в фаре, вместе со шторкой, отсекающей засветку от светодиода. У такой конструкции есть целый ряд преимуществ и полезных свойств, особенно учитывая, что эти камеры установлены так, что об их наличии со стороны догадаться очень сложно.
Ну а две матрицы (датчики изображения) с соответствующей оптикой позволяют довольно легко определить дистанцию до впереди идущего объекта математическими методами, то есть посредством процессора изображений - специально запрограммированного микрокомпьютера, способного при необходимости также распознавать госномер и тип транспортного средства и отличать их от пешеходов и велосипедистов, например.
И несмотря на то, что видеокамерам присущи ограничения, которых радары не имеют - в частности, если обзор перекрыт туманом, загрязнением стекла или чем-то ещё, есть у них и преимущества. Например, такие камеры смогут считывать знаки ограничения скорости и другие дорожные знаки, заранее замечать светофоры и давать подсказку на приборной панели, и даже распознавать стоп-сигналы впереди идущего транспорта. Кроме того, миниатюрные датчики изображений давно уже стали крайне ходовым, а значит и дешёвым, товаром - во многих современных смартфонах их три или четыре, а то и больше, так что от пары аналогичных датчиков в фарах мотоцикла его цена вряд ли существенно вырастет. Да и визуально он от этого не изменится абсолютно.
Кроме того, камеры вполне успешно можно сочетать с радарами, как уже сделано в некоторых автомобилях - такая комбинация обеспечит полным пакетом информации бортовые системы безопасности, например, адаптивный круиз-контроль, систему предотвращения столкновений и так далее.
Патент Honda охватывает несколько вариантов реализации этой идеи. Один касается капотированного спортбайка, второй - дорожного нейкеда. Но совершенно очевидно, что возможности схемы не ограничиваются этими двумя классами: если уж у мотоцикла есть хотя бы одна фара, в неё точно можно вставить две миниатюрные видеокамеры.
Правда, непонятно, как компания собирается преодолевать запрет на съёмку частной жизни, по умолчанию действующий в некоторых странах, где запрещены видеорегистраторы. Но это будет далеко не первая ситуация, когда мотопроизводитель вынужден отключать те или иные фичи для законности продажи, но оставляет пользователю возможность их включить самостоятельно.

