Прошло 30 лет с тех пор, как Honda перевернула представления о супербайках, выпустив CBR900RR Fireblade, но, если честно, эпоха доминирования Honda в этом классе давно в прошлом. Однако, своих амбиций компания не скрывает, и недавно опубликованный патент иллюстрирует намерения Honda снова ввязаться в бой, в качестве орудия выбрав рушащую стереотипы конструкцию с радикально сниженным весом по сравнению с нынешним поколением конкурентов.
В своё время Fireblade изменил мир супербайков, проигнорировав нормы гоночных классов: этот дорожный мотоцикл сочетал в себе производительность уровня 1000-кубовых моделей с весом 750-кубового класса. У этого сочетания нашлось множество последователей в лице конкурирующих брендов, в результате чего 750-кубовый класс вскоре исчез, но в итоге Honda осталась на вторых ролях. На Honda с 2007 года не привозили победу в WSBK и не завоёвывали места в чемпионатах производителей с 1997 года и эпохи RC45.
Новая конструкция Honda
Новая конструкция, опубликованная в японском патенте, необычна сразу в нескольких планах. Дело не только в том, что она состоит из необычных материалов, скомпонованных в необычные элементы, но и в том, что сам патент непривычно подробен и включает описания и эскизы радикального шасси и даже вспомогательных компонентов вроде приборной панели, зеркал, пультов и даже боковой подставки и каталитического конвертера - словом, компонентов, подтверждающих, что этот мотоцикл будет допущен на дороги и вообще задуман как серийная модель, а не какой-нибудь концепт или хотя бы чисто трековый вариант.
Главное отклонение от общепринятых норм — это рама. Вместо обычной алюминиевой балочной рамы основу силового каркаса составляет поперечный четырёхцилиндровый рядный двигатель. Само по себе это не так уж необычно - такое решение использовано в Ducati Panigale V4 и Aprilia RS 660, где двигатель является основным элементом несущей конструкции и оснащён небольшой дополнительной рамой, а в Fireblade нагруженный двигатель был ещё в 2000 году, когда была представлена версия CBR929RR, но то, что Honda отразила в патенте, намного более радикально.
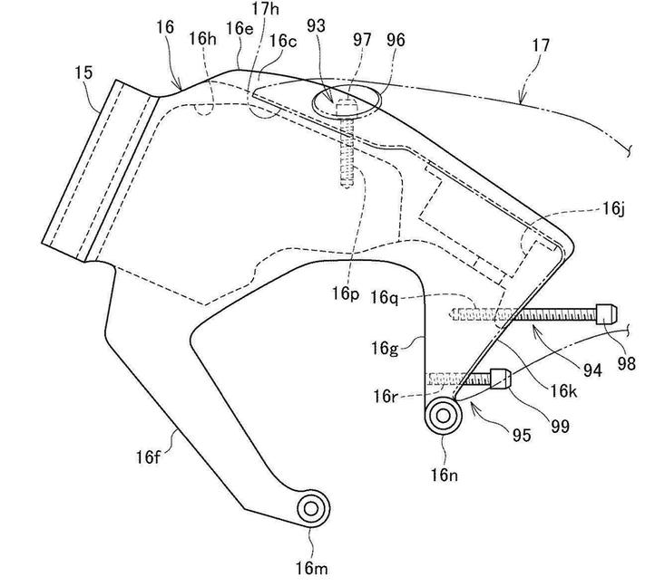
Передний элемент шасси, изготовленный "путём литья" - вероятно, легкосплавный - держит рулевую колонку. Он крепится к корпусу двигателя, образуя подковообразную структуру над цилиндрами и головкой, и, как в монококе Ducati Panigale 1199, содержит в себе корпус воздушного фильтра. В полой передней части рамы, чуть позади рулевой колонки, находится отсек (элемент №110 на эскизах), в котором расположена электроника мотоцикла, включая аккумулятор.
Сзади стоит ещё пара небольших структурных элементов рамы по бокам корпуса трансмиссии и придающие оси маятника дополнительную прочность. Маятник здесь, похоже, односторонний, но это не раскрыто в тексте патента, зато указано, что боковая подставка может быть прикреплена как к корпусу двигателя, так и к выступу заднего элемента рамы.
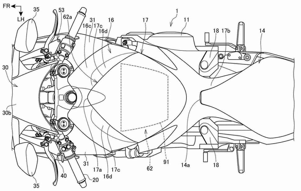
А вот в чём мотоцикл действительно отклоняется от нормы, так это в конструкции основы сиденья и бака, которые на самом деле объединены в один элемент под номером 17 на эскизах. Элемент изготовлен из карбона и крепится к переднему элементу рамы, он имеет самонесущую монококовую конструкцию, то есть внешний его слой является несущим. Заднего “обвеса” как такового нет - есть просто седло поверх бака-подрамника, а сзади к нему крепится задний свет и держатель номера. Таким образом, облицовка на мотоцикле есть только спереди, и состоит она из четырёх элементов: нос под номером 30, две боковые панели (31) и нижний элемент (32), закрывающий двигатель и выхлоп. В патенте даже описано, что в сложенном состоянии боковая подставка скрывается в этом нижнем элементе облицовки - примерно как в старых Хондах типа NR750 и NS400R.
Ещё одна интересная подробность - в описании и эскизах приборной панели. В левой части её - аналоговый тахометр, размеченный до 14000об/мин, а вся правая часть (50B на эскизах) - жидкокристаллический дисплей, отображающий скорость и другие параметры. Указывается также, что сцепление имеет гидравлический привод, и оба расширительных бачка - переднего тормоза и сцепления - имеют форму, стилизованную под общий дизайн мотоцикла. Достаточно детально изображённые пульты на руле имеют дополнительные кнопки, без сомнения предназначенные для навигации по меню приборной панели.
Все эти подробности наряду с четырёхцилиндровым мотором, изображённым очень похожим на нынешний мотор Fireblade, и совершенно нормальной вилкой, тормозами и задней подвеской, подсказывают, что мотоцикл в большей степени представляет собой жизнеспособный проект, а не просто идею необычного шасси. Патент чётко даёт понять, что основной задачей такой конструкции является радикальное снижение веса, но также упоминает о снижении стоимости производства, что опять же подтверждает мысль о выходе этой конструкции в серию.
Неужели Honda планирует опять перевернуть мир с ног на голову? Жизнь покажет.




