Как мы недавно уже говорили, мир переходит на нагнетатели. Строгие экологические нормы ведут к необходимости сжигать топливо максимально эффективно, и катализатор тут - дорогая полумера, по сути означающая, что производитель не сумел обеспечить эффективную работу двигателя. Поэтому оснастить высокопроизводительный двигатель системой принудительной подачи нужного количества воздуха - задача, которая неизбежно встаёт перед любым производителем.
Вот и Yamaha, столкнувшись с необходимостью соответствовать нынешним (а главное, будущим) экологическим нормам, разрабатывает нагнетательный двигатель - во всяком случае, так следует из новых патентных заявок, в которых раскрыты подробности трёхцилиндрового турбированного прототипа.
Прототип, проходивший в этом году ряд испытаний, выдаёт 180лс на 8500об/мин и внушительные 176Нм крутящего момента в диапазоне с 3000об/мин до 7000об/мин, а его выхлоп на 30% чище, чем у атмосферного двигателя аналогичной мощности. Сам же мотоцикл представляет собой нейкед в стиле MT-10.
Да, снять такую пиковую мощность с подобного двигателя можно и без нагнетателя, но для этого его необходимо очень сильно раскручивать, а сходные цифры крутящего момента получить не удастся. Высокие обороты на атмосферном двигателе в свою очередь крайне неэкологичны и могут стать препятствием для омологации по Euro 5, а с грядущими Euro 6 будет ещё сложнее производить визжащие высокооборотистые моторы. Вся проблема - как раз в продувке: двигатель не успевает за короткое время выдохнуть большой объём выхлопных газов и вдохнуть свежий воздух, поэтому приходится реализовывать перекрывающиеся фазы клапанов, при которых впускные клапана открываются ещё до того, как закрываются выпускные. Очевидно, что часть смеси при этом попадает в выпуск.
Потенциальных решений тут несколько: переменные фазы клапанов, прямой впрыск, но нагнетатели (турбины или суперчарджеры) представляют собой лучший способ снять максимальную мощность, не раскручивая двигатель до высочайших оборотов. Впрочем, и это решение не лишено сложностей: сжимаясь, воздух нагревается, поэтому помимо нагнетателя, на впуске должен быть установлен интеркулер, а на мотоцикле не слишком много лишнего места. Неудивительно, что вокруг решения этой проблемы сосредоточены некоторые новые патенты Yamaha.
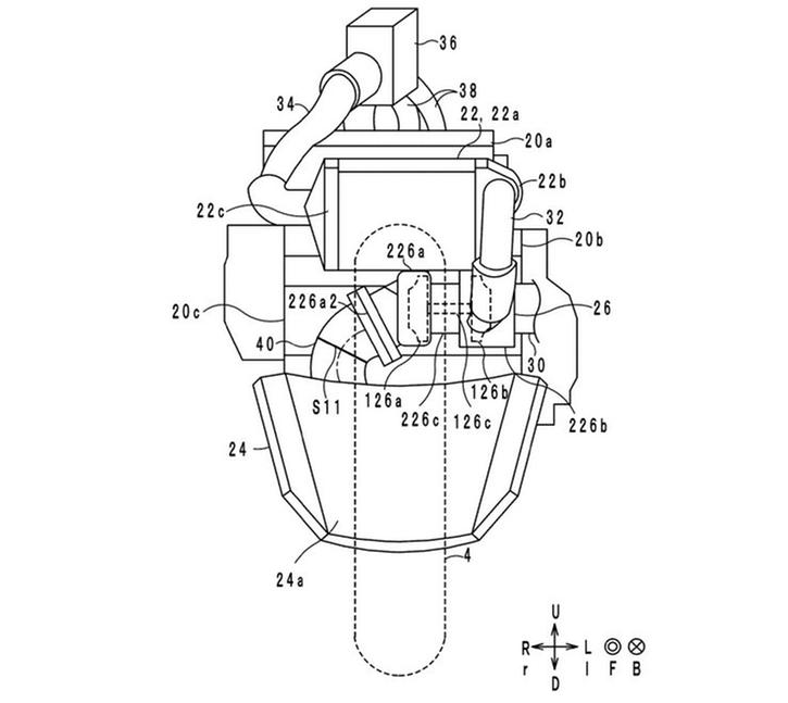
Один из вариантов, найденных Yamaha и раскрытых в патентной заявке, состоит в необычном расположении радиатора и вентиляторов. Радиатор с его традиционного расположения перенесён книзу двигателя, благодаря чему появляется возможность на его место установить нагнетатель с интеркулером.
Патент Yamaha также описывает необычную изогнутую форму радиатора, позволяющую переднему колесу свободно поворачивать, не касаясь его, а на боковых гранях установить вентиляторы охлаждения. Конструкция при этом может прилегать довольно плотно к двигателю, иметь большую площадь охлаждения и не быть слишком громоздкой.
Также компания представила в заявке компактный впускной манифольд с одним электронно управляемым клапаном, регулирующим подачу сжатого воздуха в двигатель.
Выхлоп турбированного мотоцикла Yamaha
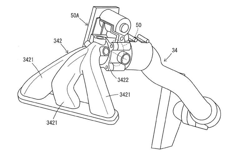
Ещё одна заявка Yamaha касается выхлопа турбированного мотоцикла, который имеет существенные отличия от обычного.
Установка турбины прямо перед рядом цилиндров означает, что выпускные патрубки 3-1 будут очень короткими, сходящимися прямо после выхода из головки для подачи выхлопа в турбину. После того, как энергия расширяющихся выхлопных газов была частично использована для вращения нагнетателя, они покидают турбину через единую трубу заметной ширины. Патент Yamaha объясняет, что в этом широком участке выпускного тракта установлено несколько каталитических конвертеров, один сразу после турбины, а ещё один в горизонтальной секции выхлопа под двигателем. И, наконец, под осью маятника находится глушитель, короткий выходной участок которого смотрит вправо. На удивление, выхлоп турбированного двигателя у Yamaha получился даже более компактным, чем на атмосфернике - в основном из-за отсутствия необходимости подбирать длину для оптимизации протекания выхлопных газов.
Наработки Yamaha
По всей видимости, свои наработки Yamaha обкатывает на уже созданном и собранном мотоцикле со своим интересным стилем. Но вот о том, попадёт ли он в серию, и если да - то когда, нам пока неизвестно. Предыдущие патентные заявки Yamaha включали наклонный трицикл с возможностями супербайка, полноприводную версию YZF-R1, но несмотря на впечатляющие результаты испытаний, ни один из этих прототипов в серию не пошёл.
Турбированный мотоцикл от Yamaha, тем не менее, выглядит весьма перспективно, поскольку соперники по Большой Японской Четвёрке тоже работают над мощными мотоциклами с нагнетателями. Остаётся только надеяться, что очередные эконормы не похоронят большие бензиновые двигатели, и топовые модели не придётся делать на электроприводе.



