Harley Davidson последние пару месяцев выносит свои проблемы на публику, и вкратце все их беды сводятся к двум факторам: весьма пожилая армия фанатов и сложности с привлечением более молодых покупателей. По сути, те же беды, что и у других производителей мототехники премиум-класса.
Что ж, компания заслужила свою порцию критики: несмотря на то, что Harley остаются лидером во многих областях, включая например электроциклы, их основной продукт, тяжёлые круизёры и туреры, приносящие основную прибыль и составляющую основу их имиджа, на самом деле испытывают сложности в привлечении новых покупателей, а для старых представляют собой сложность сами по себе. Их размер и вес, так привлекательные для людей, полных сил, оказываются излишними для пользователей постарше, особенно на невысоких скоростях.
Самобалансирующиеся на месте Harley Davidson
Но что если Harley Davidson создадут систему, которая исключит вероятность падения на небольших скоростях? Один из вариантов такой системы и описан в патенте, о котором далее пойдёт речь.
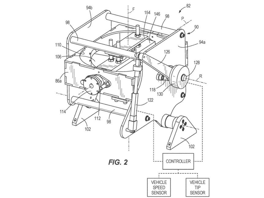
Идея, описанная в патентной заявке, состоит в установке на мотоцикл гироскопа, позволяющего сохранять баланс в состоянии стоя и на пешеходных скоростях. Гироскоп, установленный в центральный кофр Tour-Pak, не такой, как ставятся на современные мотоциклы для измерения инерции, микроэлектромеханический. На Harley будет ставиться традиционный гироскоп с большой вращаемой массой, типа тех, что используются для навигации в космических кораблях, не говоря уж о самолётах и водных судах.
Такой гироскоп состоит из тяжёлого маховика, раскрученного до скорости в пределах 10000 - 20000 оборотов в минуту при помощи электромотора на карданном подвесе, который при обычной езде позволяет ему свободно двигаться и вращаться по всем осям. Это значит, что помимо небольшого дополнительного веса, он никак не повлияет на поведение байка на обычных скоростях.
Однако, на скоростях около 5 км/ч и ниже, гироскоп приходит в действие и обеспечивает баланс. Специальное сцепление соединяет ось карданного подвеса с линейным актюатором, управляемым компьютером. Это позволяет компьютеру наклонять вращаемую массу в ту или иную сторону, создавая силу, влияющую на весь байк. Сенсоры, встроенные в кофр, регистрируют наклон байка, а компьютер противодействует этому наклону при помощи соответствующего перемещения гироскопа.
Центральный кофр Tour-Pak
Для этого требуется относительно небольшое усилие, если оно приложено ещё до того, как мотоцикл наклонился слишком низко, так что малых перемещений гироскопа достаточно для самобалансировки байка. Для новичка, желающего попробовать в деле круизёр от Harley, но не обладающего достаточным опытом для безопасного им управления, это может быть существенным плюсом. Также это может быть полезно для пожилых райдеров или просто для некрупных людей, которые обеспокоены тем, что им недостаёт сил и массы для удержания большого и тяжёлого мотоцикла в правильном положении. Как только байк набирает 5 км/ч, актюатор гироскопа расцепляется и позволяет байку наклоняться и балансироваться обычным образом.
Специальная версия центрального кофра Tour-Pak
Особенно изящным такой вариант делает то, что он по сути съёмный. Вместо того, чтобы встраивать гироскоп в мотоцикл, всё, что нужно для работы балансировочной системы, встроено в специальную версию центрального кофра Tour-Pak. Так что остаётся только подвести электропитание - и система готова к работе. Это значит, что такая система может быть установлена буквально на любой байк производства Harley Davidson (да по сути и вообще на большинство мотоциклов). Согласно патенту, ещё один провод нужен системе для передачи сигнала с датчика скорости на ABS, но также информацию о скорости движения система сможет получать с GPS-модуля.
Для новичков это означает, что система может быть отключена или демонтирована, когда они достигнут определённых навыков езды, а для пожилых мотоциклистов систему можно установить на их привычные и любимые мотоциклы, и не бросать езду на двух колёсах из-за слабеющих мышц.
Конечно, подача патента совершенно не означает, что идея поступит в серию, но если всё же звёзды сойдутся, то эта конструкция станет великолепным дополнениям к предложениям компании.


