Пожалуй, главное отличие современных мотоциклов от тех, на которых мы ездили лет 20 назад - это не диодный свет, не сенсорные приборные панели, и даже не бортовые ассистенты, а электронный газ, благодаря которому эти самые ассистенты в большом количестве появились и активно развиваются.
Эра бортовых ассистентов
Первым серийным мотоциклом с электронным газом стала Yamaha YZF-R6 2006 года, в которой исключили прямую механическую связь между ручкой газа и дроссельными заслонками, заменив её на симулированную, основанную на сервоприводе. Главным плюсом той системы была удивительно точная имитация ощущения от ручки газа: не зная, что он электронный, в жизни не предположишь этого. Затем аналогичные технологии появились в арсенале практически каждого производителя, и настолько распространились, что сейчас уже непросто найти новый мотоцикл с обычным тросиковым приводом дросселя.
Сначала электронный газ стал благом для конструкторов, попавших в сложную ситуацию из-за экологических требований. Он позволил реализовать точнейшие топливные карты, когда на каждый угол открытия ручки газа можно заранее рассчитать количество воздуха, попадающее в двигатель за единицу времени, а к нему - количество бензина, длительность его впрыска, момент зажигания и некоторые другие аспекты работы двигателя, и тем самым создать мотор с плавным, линейным откликом на ручку газа и экологичным выхлопом, даже если реальные физические дроссельные заслонки работают не полностью синхронно с движениями кисти райдера. Таким образом характеристика тяги мотоциклов была искусственно расширена без каких-либо потерь в пиковой мощности и тяги, просто за счёт более точного распределения полки момента по диапазону хода правой грипсы.
А вскоре производители по-настоящему оценили возможности электронного управления дросселями - наступила эра бортовых ассистентов. Первым, конечно, появился трекшн-контроль: если раньше для предотвращения или прекращения срыва заднего колеса приходилось создавать пропуск в зажигании или прерывать подачу топлива, то сейчас ЭБУ, ассистирующему райдеру, достаточно самую малость прикрыть дроссели и тем самым плавно снизить тягу. А уж с появлением на мотоциклах устройств измерения инерции к трекшн-контролю присоединились вилли-контроль, лаунч-контроль и контроль устойчивости в поворотах - то есть, все те алгоритмы, которые для надёжной и безопасной работы требуют не прерывания работы двигателя (пусть и на короткое время), а хирургически точного дозирования тяги. Но что же дальше? Неужели развитие мотоциклов на этом остановилось?
Электроное сцепление
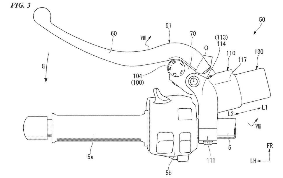
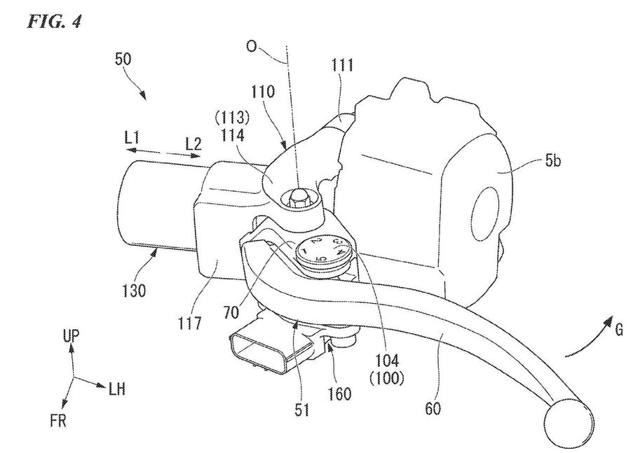
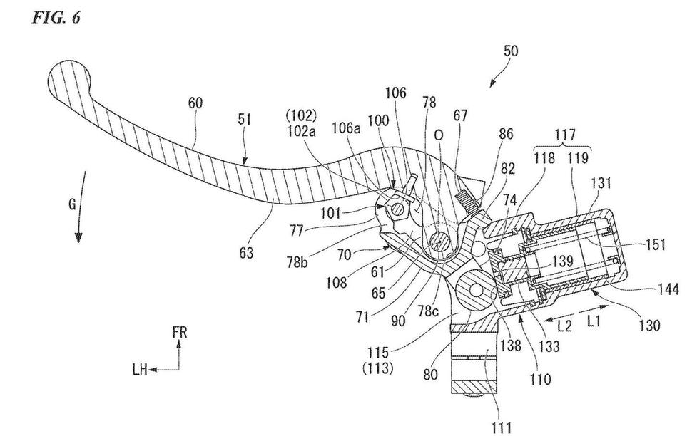
Компания Honda считает, что нашла следующий узел мотоцикла, который нуждается в доработке. На этот раз речь идёт о сцеплении, и Honda уже подала несколько патентных заявок, касающихся сцепления с электронно управляемым приводом.
Конструктивно идея Honda представляет собой сцепление с гидравлическим приводом, управляемое рычагом на руле. Однако, в отличие от существующих конструкций, прямая гидравлическая линия между рычагом и рабочим цилиндром отсутствует. Положение рычага сцепления отслеживается при помощи электронного датчика, а на основе этих данных блок управления командует гидравлическим контроллером, изменяющим давление в магистрали рабочего цилиндра сцепления. Кроме того, блок управления отслеживает положение ручки газа, включенную передачу, скорость вращения двигателя и движения рычага переключения передач.
В отличие от обычного сцепления, которое в своём "обычном" состоянии соединяет двигатель и трансмиссию, а разъединяет их только когда выжат рычаг, электронно управляемое сцепление Honda по умолчанию разъединено. Когда рычаг системы отпущен, электромотор гидравлического контроллера перемещает поршень главного цилиндра, создаёт давление в рабочем цилиндре и сжимает диски сцепления, благодаря чему тяга с двигателя начинает передаваться на коробку. Это сделано из соображений безопасности: в случае полного отказа системы тяга просто перестанет поступать на трансмиссию.
Варианты использования
Дополнительные данные, отслеживаемые блоком управления электронным сцеплением, позволяют реализовать самый разнообразный функционал: в некоторых режимах сцепление будет работать полностью автоматически, имитируя, например, работу квикшифтера, только вместо прерывания зажигания или добавления газа нагрузка с вала коробки будет сниматься разъединением сцепления, а синхронизация скорости вращения двигателя и колеса будет происходить самым естественным образом, вообще без рывков. Здесь же возможны дополнительные варианты лаунч-контроля, вилли-контроля, трекшн-контроля - к арсеналу средств управления тягой, таких как дроссельные заслонки, зажигание и подача топлива, добавится ещё и самый эффективный, сцепление.
Разумеется, Honda позаботилась о том, чтобы выжим рычага сцепления происходил с привычным ощущением, даже если он полностью цифровой. Патент компании описывает "устройство генерации реактивной силы", работающее в паре с рычагом и дающее обратную связь несмотря на отсутствие прямой связи между рычагом и положением дисков в корзине сцепления.
При езде с отпущенным рычагом мотоцикл будет отслеживать давление в гидроприводе сцепления и удерживать его таким, чтобы сцепление оставалось всегда в "рабочем" состоянии, передавая тягу. Кроме того, система способна будет определить начало движения или торможение и плавно "отпускать" или "выжимать" сцепление.
Так что новая идея Honda позволит как минимум забыть о заглохшем из-за неумелой работы с рычагом двигателе.


