В 2015 году Honda впервые представили свой вездеходный скутер X-ADV в качестве концепта. На тот момент идея скутеров-адвенчеров казалась как минимум странной, но уже год спустя появилась серийная версия, которая создала свой отдельный, пускай и небольшой, сегмент, и даже определила внешний вид большинства его представителей. В 2020 году вышло второе поколение, отличающееся некоторыми изменениями внешнего вида, а судя по новым патентным заявкам, в работе находится третье поколение Honda X-ADV.
Третье поколение скутера Honda X-ADV
Вседорожный скутер основан на шасси и двигателе серии Honda NC750, включая автоматическую трансмиссию с двумя сцеплениями DCT. Успех X-ADV привёл к созданию младших моделей, ADV350, ADV150 и впоследствии ADV160, а также побудил конкурентов к разработке нескольких похожих моделей. Среди них - как солидные игроки вроде XP400 от Peugeot или DTX360 от Kymco, так и целый ряд вариаций на ту же тему от нескольких китайских брендов.
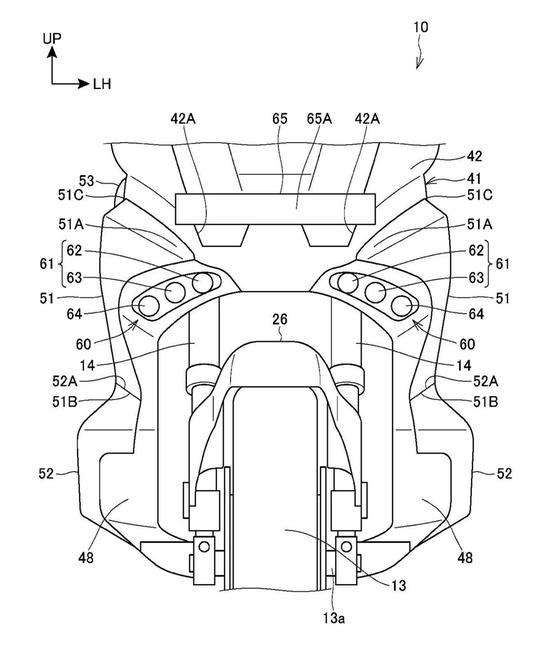
Новый патент Honda, недавно опубликованный в Японии, содержит изображения мотоцикла, определённо напоминающего нынешний 745-кубовый двухцилиндровый X-ADV, но с рядом существенных отличий от текущего поколения. Изменения сосредоточены на передней и задней частях, а как таковой патент касается обновлённого головного света скутера.
Фары на нём сместились с нынешнего положения на верхней стороне переднего обтекателя ниже и теперь находятся на его нижней стороне, где огибают переднее колесо. В каждой из двух фар находятся три отдельных диодных лампы, а также имеется отдельная диодная полоса выше на обтекателе, действующая как дневной ходовой огонь.
Три отдельные лампы в каждой из фар служат своим целям. Внутренняя пара работает на ближний свет, средние лампы - дальний. А крайние, то есть, расположенные на внешних сторонах фар, работают на подсветку поворота и загораются индивидуально в зависимости от наклона мотоцикла, освещая внутреннюю часть поворота.
Ещё одно большое изменение задней части нового Honda X-ADV - новый хвост и выхлоп. Первое и второе поколение X-ADV имели глушители на правом боку, расположенные под крутым углом рядом с задним колесом. В новой же версии установлена горизонтальная выхлопная труба под сиденьем. И хотя патент относится к конструкции фар мотоцикла, в документе отдельно упоминаются некоторые особенности задней части. Там идёт речь о новом выхлопе, теплозащитном экране на нём, а также о новой конструкции задней облицовки, позволяющей проложить выпускной тракт по центру.
Перенос выхлопа под седло позволяет увеличить дорожный просвет скутера, а попутно может говорить об изменениях в конструкции двигателя, будь то с целью увеличения мощности или для снижения вредных выбросов. Такой вариант выхлопной системы позволяет установить более массивный и многоступенчатый каталитический конвертер или увеличенный глушитель для снижения шума. И хотя это может сократить объём подседельного кофра, зато отсутствие горячих глушителей на боку мотоцикла позволяет установить более объёмные боковые кофры.

