Больше десяти лет Honda была единственным производителем, на мотоциклах которого устанавливались подушки безопасности. Для двух поколений легендарной Gold Wing была доступна опция - встроенный аирбэг. Но в ближайшем будущем появится ещё один мотоцикл, или, если угодно, скутер, оснащённый подушкой безопасности - Piaggio MP3.
Piaggio MP3 с подушкой безопасности
В прошлом ноябре итальянская компания показала прототип своего наклонного трицикла MP3 530, оснащённый аирбэгом, а недавно подала патентную заявку, в которой описаны подробности работы этой системы. Учитывая трёхколёсную компоновку Piaggio MP3 и его явную ориентацию на тех, кто опасается ездить на двух колёсах, но нуждается в чём-то более компактном и лёгком, чем автомобиль, установка на этот максискутер аирбэга автомобильного типа звучит вполне логично.
Подробнее о подушке безопасности Piaggio MP3
Патент весьма напоминает прототип, показанный в ноябре. Воздушная подушка располагается под широкой крышкой чуть ниже руля, прямо перед коленями райдера. Размер этой крышки, ощутимо превышающий размер её аналога на Honda Gold Wing, намекает на то, что воздушная подушка под ней может оказаться больше, чем ожидалось. Судя по патентной заявке, дающей первое представление о том, что скрывается за этой крышкой, это именно так.
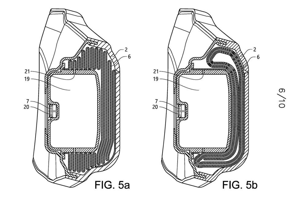
Что касается самой подушки безопасности, то технология мало отличается от автомобильного варианта. Инфлятор, то есть устройство разворачивания, надувающее подушку (обозначен номером 7) представляет собой газогенератор, и хотя в документе нет подробностей об этой части технологии, похоже, что это химическая система с электрическим срабатыванием, как в большинстве автомобильных аирбэгов. Точно так же, как в автомобильных аналогах, крышка, прикрывающая аирбэг, имеет скрытые линии разрезов, по которым она разделяется при срабатывании подушки. При этом часть крышки откидывается вниз, создавая дефлектор, направляющий подушку вверх, к верхней части тела и голове.
Сама подушка огромна, и патент показывает, что под крышкой она может находиться как в сложенном, так и в скрученном состоянии (рис. 5a и 5b). При срабатывании подушка по сути создаёт стену из надутой газом ткани, поглощая энергию инерции до того, как появляется вероятность удариться обо что-то твёрдое.
Как и на Honda Gold Wing, аирбэг Piaggio MP3 рассчитан на лобовые столкновения, при этом наиболее вероятным сценарием, проиллюстрированным в патенте, является ситуация, когда автомобиль не видит приближения мотоциклиста и выезжает перед ним на дорогу. Как и Gold Wing, MP3 хорошо подходит для оснащения подушкой безопасности, защищающей в таких ситуациях. У него довольно длинная колёсная база и низкий центр тяжести, снижающий вероятность опрокидывания вперёд вместе с райдером, а конструкция скутера и посадка подразумевают достаточно предсказуемое положение тела райдера в момент столкновения. На других мотоциклах, особенно на спортивных, райдеры много двигаются, перенося вес тела, а из-за высокого центра тяжести такие мотоциклы имеют склонность к переворачиванию вперёд при лобовом столкновении, что значительно усложняет применение подушек безопасности.
В ближайшем будущем
Подача патентной заявки и тот факт, что Piaggio показали прототип оснащённого аирбэгом скутера, чётко указывают на то, что это действующий проект, который, скорей всего, будет запущен в производство в ближайшем будущем. Сама подушка безопасности и электроника, ей управляющая, вряд ли добавят к стоимости скутера сколь-нибудь большую сумму, зато её наличие сможет убедить колеблющихся клиентов отказаться от автомобиля в пользу наклоняемого трицикла.



