Недавняя патентная заявка Honda, описывающая радикальную, но потенциально реализуемую конструкцию четырёхцилиндрового супербайка подтвердила, что у фирмы имеются планы, используя свою технологическую мощь, вернуться в большую спортбайковую игру (о новой конструкции можно прочесть тут). А теперь серьёзность этих намерений подтвердила ещё пачка заявок, касающихся, вероятно, того же проекта.
Новые патентные заявки от Honda
Среди них Honda опубликовала ряд документов по отдельным проектам, каждый из которых, вероятно, вращается вокруг идеи получить более высокую производительность с рядной четвёрки для супербайка. Подразумевается, что эти проекты касаются не MotoGP-шного V4, а чего-то вроде Fireblade или его прямого потомка.
Система переменых фаз клапанов на мотоциклах Honda
Первая пачка заявок, имеющих возможное отношение к проекту, была опубликована ещё три года назад, и касалась она четырёхцилиндрового рядника с переменной фазировкой и ходом клапанов. Эта конструкция фигурирует практически без изменений и в более новых документах, поданных в японское патентное бюро в 2020 году и не опубликованных до октября 2021. В них раскрывается ряд подробностей о конструкции, включая наличие электронных датчиков, определяющих положение системы переменной фазировки, а также некоторые изменения механических элементов, но в целом идея остаётся прежней.
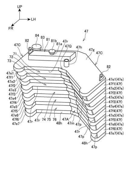
Система, патентуемая Honda, не слишком отличается от Shiftcam, использованной BMW на новых моделях серии R 1250 и S 1000 RR. На каждый клапан приходится два кулачка, но в отличие от BMW, у Honda система переменных фаз работает и с выпускными клапанами, меняя их фазировку и ход, и со впускными. Сами кулачки установлены в скользящей на шлицах втулке и могут вместе с ней двигаться вдоль распредвала. Во втулке нарезана канавка, при попадании в которую неподвижного штифта втулка сдвигается в одно из двух положений, соответствующих тому или иному набору кулачков распредвала. Сдвиг при этом происходит только в подходящий момент, когда клапана закрыты и на кулачки практически не приходится никакой нагрузки.
В оппозитах BMW дело упрощается тем, что на каждый подвижный кулачок приходится один цилиндр, а на S 1000 RR подвижные кулачки влияют сразу на два цилиндра. В конструкции Honda каждый цилиндр оснащён своим комплектом подвижных кулачков.
Ещё одно важное отличие систем BMW и Honda состоит в том, что если у BMW штифт селектора кулачков вставляется в канавку соленоидом, а в конструкции Honda штифт выходит на положение под воздействием давления масла, подаваемого клапаном с электронным управлением. Давление масла перемещает шток, на котором расположены подпружиненные штифты, соответствующие положениям кулачков, и в зависимости от давления выбирается один или второй штифт, обуславливая выбор одного или второго набора кулачков - агрессивного “верхового” с большой амплитудой хода клапанов и большей длительностью их открытия и фазой пересечения или тяговитого “низового”, более экономичного и экологичного.
Учитывая постоянное ужесточение требований экологического законодательства и одновременно спрос на всё более высокую производительность двигателя, системы переменной фазировки клапанов должны стать одним из главных орудий производителей в борьбе за продление срока существования двигателей внутреннего сгорания на мотоциклах. Когда-то Honda стала пионером подобных систем в автомобильном мире, и теперь, когда эта компания наконец-то решила использовать настоящую систему переменых фаз клапанов на мотоциклах (а не простое отключение половины клапанов, как в системах Hyper-VTEC и REV, существующих с 80-х годов), она, возможно, задаст новую планку эффективности этих систем в мотоциклетных ДВС.
Уменьшение и облегчение главного радиатора
Вторая пачка патентных заявок относительно четырёхцилиндровых супербайков Honda касается методов уменьшения и облегчения главного радиатора жидкостной системы охлаждения. Были запатентованы как минимум три разные идеи, а на иллюстрациях к патентным заявкам при этом был изображён некий усреднённый спортбайк типа CBR.
Первый патент описывает радиатор, сделанный из широко разнесённых каналов для охлаждающей жидкости, перемежающихся тонкими рёбрами, как в обычном радиаторе, но организованных в подковообразную конструкцию, аккуратно расположенную вокруг переднего колеса, что позволяет снизить дистанцию между колесом и мотором. При этом конструкция имеет переменную толщину: более толстая часть наверху сужается к более тонким “концам” подковы.
Идея переменной толщины использована и во втором варианте нового радиатора, в котором использован V-образный охладитель со встроенным в его верх бачком. Верхние элементы этого радиатора самые широкие, а к нижним он постепенно сужается, что позволяет ему уместиться в облицовке супербайка.
И, наконец, третий вариант радиатора - круглый, больше похожий на кулеры для процессора компьютера, чем на элемент мотоциклетной системы охлаждения. Он тоже широкий сверху и узкий снизу, что позволяет ему эффективно использовать доступный объём, но его охлаждение больше опирается на вентилятор, чем на набегающий поток. Вентилятор находится в центральном отверстии, полностью погружённый в радиатор.
Honda форсирует разработку капотированных спортбайков
Далеко не все патенты претворяются в действительность, но и их количество, и необычность конструкций говорят о том, что Honda форсирует разработку капотированных спортбайков на основе ДВС. Honda, много лет топтавшаяся в хвосте табуна вместо того, чтобы с гордостью его возглавлять, определённо решила занять позицию, достойную компании, когда-то создавшей NR750 и RC30. Это не может не радовать.



