Honda Africa Twin с суперчарджером
Honda Africa Twin с нагнетателем разрабатывается японским конструкторским бюро компании - во всяком случае, это следует из недавней заявки в японское патентное бюро.
Три подробных патента на конструкторские решения, по дюжине страниц каждый, раскрывают подробности об инновационных решениях, применённых в мотоцикле. Среди прочего сюда входят нагнетатель с приводом с коленвала (суперчарджер), а также двойная система форсунок с прямым и непрямым впрыском для максимальной производительности, экономии топлива и снижения вредных выбросов.
Двигатель, оснащённый нагнетателем
Главная новость, конечно, состоит в двигателе, оснащённом нагнетателем. Он основан на нынешнем 1084-кубовом 101-сильном двухцилиндровом ряднике - тяговитом, компактном и лёгком. Конструкция Unicam с одним верхним распредвалом, приводящим четыре клапана на цилиндр, остаётся, но с добавлением компрессора и сопутствующих ему дополнительных соединений двигатель может обрести намного более суровый характер.
Линейка Kawasaki H2 показала, что компрессоры и мотоциклы отлично дополняют друг друга, и конструкторы Honda поместили свой компрессор в аналогичном месте - чуть выше трансмиссии. Но вот конструкция нагнетателя решительно отличается.
Kawasaki H2 оснащён специальным центробежным суперчарджером, представляющим собой холодную половину турбонагнетателя, только вместо горячего выхлопа её вращает сам двигатель. Коленвал приводит в движение крыльчатку, установленную внутри улитки, и воздух, вращаемый этой крыльчаткой, принудительно проталкивается во впуск двигателя. Центробежные нагнетатели не дают особого прироста мощности, покуда не будут раскручены как следует, поэтому двигатель нужно крутить очень жёстко, чтобы получить максимальный прирост производительности.
Однако, Honda пошла другим путём и выбрала иную конструкцию нагнетателя. Это так называемая система Лисхольма, состоящая из двух винтов. В отличие от центробежного, такой нагнетатель с каждым оборотом выдаёт стабильное количество воздуха, а поскольку он приводится от коленвала, получается, что установка нагнетателя даёт стабильный прирост продувки на любых оборотах.
Такими компрессорами пользуются драг-рейсеры, потому что он имеет практически идеальные характеристики - почти не греет воздух, сжимает его, обеспечивает постоянство прироста мощности. Центробежный компрессор выдаёт чуть больше мощности в пике - то есть около отсечки - поэтому инженеры Kawasaki, проектируя трековое чудовище, прибегли именно к такому варианту. Но для турэндуро равномерный прирост, пусть и не пиковый, намного интереснее, поэтому винтовой нагнетатель Лисхольма - оптимальный выбор.
Двойная конструкция аирбокса
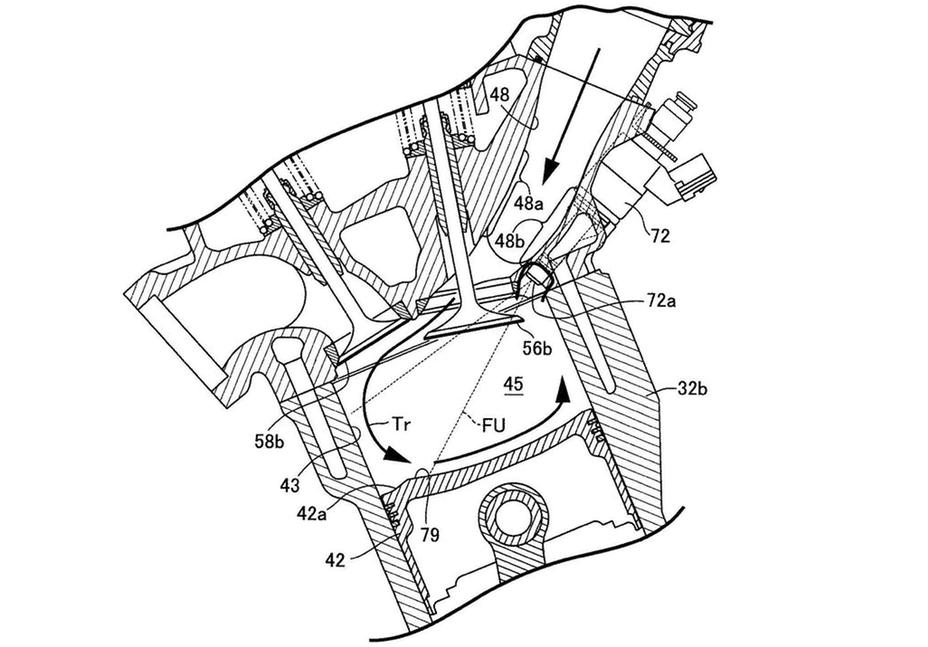
Также патенты Honda демонстрируют, что инженеры не отказались от необычной двойной конструкции аирбокса, в котором два одинаковых фильтра расположены по бокам мотоцикла. Но вместо подачи воздуха непосредственно в дроссель, из левой стороны аирбокса выходит патрубок, подающий воздух в суперчарджер, который его сжимает перед подачей в прямые впускные каналы, ведущие в свою очередь к дроссельным заслонкам.
Что касается впрыска, то две форсунки находятся на прежних местах, прямо под дроссельными заслонками, но ещё две впрыскивают топливо прямо в камеру сгорания. Бензин в них подаётся отдельным бензонасосом, приводимым от распредвала, что обеспечивает немалое давление топлива для его быстрого распыления после впрыска. Положение форсунок прямого впрыска обеспечивает попадание струи бензина в турбулентный поток воздуха из-под впускных клапанов, что предотвращает налипание бензина на стенки цилиндра.
Используя ту или иную пару форсунок в зависимости от оборотов, нагрузки и открытия газа, ЭБУ двигателя существенно снизит расход топлива, увеличит производительность и уменьшит содержание вредных веществ в выхлопе.
Впускная система и компрессор
Впускная система суперчарджерного мотоцикла включает перепускной клапан (№96 на чертеже) для снижения излишнего давления во впускном канале. Ещё один перепускной клапан (93b) с патрубками создаёт канал между аирбоксом и впуском минуя суперчарджер.
Компрессор системы Лисхольма устроен следующим образом: в нём два сцепленных спиральных ротора (которые ещё называют винтами или свёрлами на слэнге) вращаются близко, но не касаясь друг друга, в противоположных направлениях. Проще всего понять принцип их работы позволит наблюдение за тем, как винт мясорубки проталкивает мясо к ножу, только в компрессоре винта два, и они настолько быстро и эффективно вращаются, что захватывают воздух. Чем ближе к выходу из компрессора, тем зазор между ними становится меньше, а воздух сжимается и продолжает свой путь к камере сгорания. А благодаря прямой связи с коленвалом, изменение скорости вращения двигателя влияет на скорость вращения винтов компрессора, и он подаёт одинаковое количество воздуха на каждый такт впуска.
Honda экспериментирует с этой технологией не впервые - в 2017 году компания запатентовала конструкцию суперчарджерного V-твина с аналогичным компрессором, установленного на мускулисто выглядящем родстере.
Подробные чертежи, а равно - сам факт того, что конструкторы Honda уже подали как минимум три отдельных патента, касающихся элементов одного и того же мотоцикла, подсказывают, что это довольно серьёзный проект. Учитывая традиционно вдумчивый подход Honda, неудивительно будет, что суперчарджерная Africa Twin с прямым впрыском уже собрана и вовсю испытывается где-нибудь в монгольских степях, подальше от любопытных глаз. Кстати, в прошлом августе компания уже работала над системой прямого впрыска для Africa Twin, так что пазл потихоньку складывается.
Мощные турэндуро
Пока, впрочем, нет уверенности в том, что эта идея пойдёт в серию, но рынок мощных турэндуро определённо складывается - взять хотя бы Ducati Multistrada V4, который, вероятно, задерёт планку довольно высоко. Honda Africa Twin, хоть и довольно легковесна, но проигрывает в мощности конкурентам типа BMW R 1250 GS, и даже немного отстаёт от менее кубатурного KTM 890 Adventure R, который выдаёт 105 лс со своих 889 кубиков (сравните со 101 лошадью с 1084 кубиков у Honda). Суперчарджер - простой и надёжный способ увеличить отдачу двигателя, добавить мощных низов и могучих верхов, так что несложно представить инженеров Honda, готовящих настолько серьёзный ответ конкурентам.


